Manual de JuiceBox Pro & Pro Cellular

JuiceBox España

Este manual en línea explica cómo instalar y utilizar su JuiceBox Pro & Pro Cellular.

Contenido del paquete

Características y dimensiones

Características

Potencia de salida

 

 

Hasta 3,7kW, 16 A, monofásica

Hasta 7,4kW, 32 A, monofásica

Hasta 22 kW, 32 A, trifásica

Voltaje de entrada

Monofásica: 230 VCA

Trifásica: 400 VCA

Modo de carga
Modo 3
Luces LED
Luces LED dinámicas que muestran el estado de la carga
Protección

IP55

 

Detector de fuga de corriente continua superior a 6mA.

 

Dispositivo de corriente residual externo Tipo A e interruptor de circuito MCB de Curva D

Rango de temperatura
De -25 °C a 50 °C
Normas y certificaciones

IEC 61851-1

 

Certificado CE

Dimensiones

NOTA: Todas las dimensiones están en mm.

Marco para pared (orificios de montaje marcados en rojo)

JuiceBox
JuiceBox y marco para pared

Herramientas necesarias

  • Destornillador Phillips
  • Lápiz o marcador
  • Llave Allen de 4 mm
  • Llave inglesa de 8 mm
  • Llave Allen de 2.5 mm (dinamométrica 1.3 Nm).
  • Para edificios con construcción de ladrillos u hormigón:
    • Martillo
    • Broca para mampostería anclajes de pared M8

NOTA: Cuando instale JuiceBox Pro Cellular en una zona con mala recepción, se recomienda usar una antena externa. Consulte la sección Condiciones de instalación para obtener más información.

Instalación

Condiciones de instalación

 

El JuiceBox debe ser instalado por un electricista cualificado conforme a las siguientes especificaciones:

  • Dentro del rango del puerto de carga del vehículo
  • Unidades equipadas con conexión WiFi (JuiceBox Pro & Pro Cellular): Dentro del rango de la red WiFi local (conforme a la norma IEEE 802.11b/g/n a 2,4 GHz)

    Unidades equipadas con conexión celular (JuiceBox Pro Cellular): Dentro del rango de cobertura de cobertura de red móvil. Si la comunicación es mala, se recomienda usar una antena externa y un alargador de cable con las siguientes características:

    • Antena externa: Antena omnidireccional de alta ganancia con conector coaxial
    • Alargador del cable: Cable coaxial de baja pérdida

     

  • 150 a 160 cm por encima del piso o suelo
  • Un dispositivo de protección de sobretensión independiente que incluye un interruptor de circuito en miniatura de Curva D y un dispositivo de corriente residual tipo A:
Interruptor de circuito MCB de Curva D
Dispositivo de corriente residual, tipo A
Monofásico de 16 A (hasta 3 kW)
  • ICC: 6 kA
  • Entrada: 25A
  • Polos: 2
  • Id: 30 mA
  • Entrada: 25A
  • Polos: 2
Monofásico de 32A (hasta 7 kW)
  • ICC: 15 kA
  • Entrada: 40 A
  • Polos: 2
  • Id: 30 mA
  • Entrada: 40 A
  • Polos: 2
Trifásico de 32 A (hasta 22 kW)
  • ICC: 15 kA
  • Entrada: 40 A
  • Polos: 4
  • Id: 30 mA
  • Entrada: 40 A
  • Polos: 4
  • Cables de alimentación con las siguientes características:

NOTA: Cada cable debe tener una resistencia inferior a 150 Ω.

NOTA: En la siguiente tabla, "oculto" hace referencia a los cables que están tendidos dentro de las paredes del lugar de instalación.

NOTA: Las especificaciones de los cables de alimentación que se muestran en la tabla son las recomendadas para una instalación corriente. En algunos casos, como cuando los cables deben cubrir una larga distancia, el instalador certificado podría usar un cableado más pesado.

Monofásico (hasta 3 kW)

 

 

 

Oculto

 

No oculto

 

 

  • Cable encamisado de 230 VCA monofásico de 4 mm2 monopolar para fase/neutro
  • Cable de 4 mm2 monopolar "verde/amarillo" para conexión a tierra
  • Cables de 4 mm2 (x3)
Monofásico (hasta 7 kW)

Oculto

 

No oculto

  • Cable encamisado de 230 VCA monofásico de 6 mm2 monopolar para fase/neutro
  • Cable de 6 mm2 monopolar "verde/amarillo" para conexión a tierra
  • Cables de 6 mm2 (x3)
Trifásico (hasta 22 kW)

Oculto

 

No oculto

  • Cable encamisado de 400 VCA trifásico de 6 mm2 monopolar para fases/neutro
  • Cable de 6 mm2 monopolar "verde/amarillo" para conexión a tierra
  • Cables de 6 mm2 (x5)

Instalación

 

NOTA: El JuiceBox debe ser instalado por un electricista calificado.

  1. Asegúrese de que el cable de entrada no reciba tensión. Si corresponde, desconecte el interruptor del cable de entrada.

    ADVERTENCIA: No continúe con este procedimiento hasta confirmar que el cable de entrada no recibe tensión.

  2. Instale las casquillos sobre los hilos del cable de entrada.
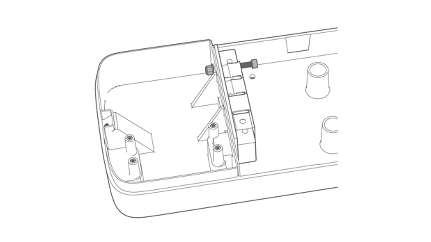
  3. Retire el bloque de bornes. Este componente se utilizará en un paso posterior
4.  Utilice una llave Allen de 4 mm para aflojar los pasadores (x2) que fijan la cubierta del bloque de sellos. Retire la cubierta del bloque de sellos.

5.  Identifique el pasador derecho que fija el bloque de sellos. Utilice una llave inglesa de 8 mm para sujetar la tuerca, luego use una llave Allen de 4 mm para aflojar el pasador.

NOTA: No es necesario que retire el pasador por completo. El pasador se volverá a ajustar en un paso posterior.

6.  Identifique el pasador izquierdo que fija el bloque de sellos. Alcance la tuerca del pasador en la parte inferior del marco para pared, luego use una llave inglesa de 8 mm para sujetar la tuerca y, con una llave Allen de 4 mm, afloje el pasador.

NOTA: No es necesario que retire el pasador por completo. El pasador se volverá a ajustar en un paso posterior.

7.  Retire los dos sellos del bloque de sellos.
NOTA: Si instala una antena externa (JuiceBox Pro Cellular): Retire los tres sellos del bloque de sellos. Deseche el sello del extremo derecho que no tiene ningún orificio.

8.  Tienda los cables de entrada a través del orificio correspondiente en el marco para pared:

NOTA: Todavía no fije el marco para pared a la pared.

 

1  

Orificio en la parte trasera del marco para pared: Recomendado para cables de entrada ocultos

2  

Orificio en la parte inferior del marco para pared: Recomendado para cables de entrada no ocultos

NOTA: Si instala una antena externa (JuiceBox Pro Cellular): Conecte la antena externa al alargador del cable coaxial, luego tienda el cable del alargador del cable coaxial en el marco para pared a través del orificio en la parte inferior del marco para pared.

 

9.  Tienda los cables de entrada a través de los sellos:

Sello con 1 orificio: Cable de conexión a tierra

Sello con 2 o 4 orificios: Cable L1, L2 (si corresponde), L3 (si corresponde) y neutro (no tiene importancia la posición de cada hilo individual dentro del sello)

 

NOTA: Si instala una antena externa (JuiceBox Pro Cellular): Tienda el cable del alargador coaxial a través del sello incluido.

10.  Tienda los cables a través de la tabique hasta la sección superior de la carcasa, como se muestra.

NOTA: Si instala una antena externa (JuiceBox Pro Cellular): Además, tienda el alargador del cable coaxial a través de la tabique hasta la sección superior de la carcasa, como se muestra.

 

11.  Tense los hilos lo máximo posible en la sección superior de la carcasa y luego vuelva a colocar los dos sellos del bloque de sellos.

NOTA: Si instala una antena externa (JuiceBox Pro Cellular): Además, coloque el sello que aloja el alargador del cable coaxial.

12.  Para los dos pasadores que fijan el bloque de sellos al marco para pared, utilice una llave inglesa de 8 mm para sujetar la tuerca mientras ajusta el pasador con una llave Allen de 4 mm (consulte los pasos 5 y 6).

13.  Instale la cubierta del bloque de sellos y los pasadores (x2) (consulte el paso 4).

14.  Instala la barra de ferrita alrededor de los cables que se introducen en la base del bloque de fijación.

 


NOTA: No es necesario que la barra de ferrita se instale sobre el aislante que recubre el cable coaxial.

 

15.  Coloque el marco para pared de la manera deseada. Mientras sujeta el marco para pared en su lugar, utilice los cuatro orificios de montaje en el marco para pared como plantilla para marcar los puntos en la pared.

16.  Con una broca de 8 mm, perfore orificios de 50 mm de profundidad en la pared en los puntos marcados en el paso anterior. Instale los cuatro anclajes de pared.

17.  Use tornillos y arandelas para instalar el marco para pared.

18.  Afloje los tornillos de los bornes en los lados del bloque de bornes (x6). Instale los cables en el bloque de bornes. Asegúrese de que cada cable encaje en su sitio, luego ajuste el tornillo del borne correspondiente. Lleve a cabo una prueba de tracción para asegurarse de que los hilos están firmemente instalados.
Posición del bloque de bornes
Cable (monofásico)
Cable (trifásico)
1
Neutro
Neutro
2
Tierra
Tierra
3
L1
L1
4
No se utiliza
L2
5
No se utiliza
L3
6
No se utiliza
No se utiliza
19.  Instale los pasadores (x4) para fijar el bloque de bornes.

20.  Si instala una antena externa (JuiceBox Pro Cellular): Desconectar la antena interna del conector situado en la parte trasera del JuiceBox y permitir que cuelgue libremente. Conecte el alargador del cable coaxial al conector en la parte posterior del JuiceBox.

21.  Instale el JuiceBox sobre el marco para pared. Instale las arandelas y los pasadores (x2 en la parte inferior, x1 en la parte superior) que fijan el JuiceBox al marco para pared (1.3 Nm).

Manual De Usuario

Le damos la bienvenida a JuiceBox

Con una tecnología de vanguardia, JuiceBox es un innovador cargador doméstico que convierte su experiencia de carga en inteligente, fiable y asequible.

Este manual le guiará a través de las funciones principales de su JuiceBox, de modo que podrá aprovechar al máximo su experiencia de carga.

 

Introducción a JuiceBox

Versión con cable:

Su JuiceBox dispone de un número de serie único ubicado en la etiqueta impresa en el lateral de la JuiceBox. El número de serie está representado tanto por un código alfanumérico como por un código QR. Este código es importante para conectar su JuiceBox en línea o si necesita asistencia técnica.

Modos de JuiceBox

Antes de configurar su JuiceBox, es importante determinar el modo en que utilizará su JuiceBox. JuiceBox dispone de 2 modos: el modo conectar y cargar (Connect & Charge) y el modo desbloquear para cargar (Unlock To Charge).

 

Modo conectar y cargar

NOTA: Se recomienda este modo cuando la JuiceBox está instalada en zonas con un acceso exclusivo para el usuario.

Este modo no requiere de ninguna autenticación antes de iniciar y finalizar una sesión de carga. Sin embargo, este modo no permite retrasar la carga.

  • Para iniciar la carga, solo debe enchufar su vehículo.
  • Para detener la carga, envíe un comando de detención (desde la aplicación JuicePass o desde el vehículo) y desconecte el vehículo.

JuiceBox utiliza el modo conectar y cargar por defecto. Sin embargo, le recomendamos que de todos modos siga los pasos de la sección Conexión en línea con el fin de configurar su JuiceBox, gestionar de forma remota sus sesiones y otras funciones.

 

Modo desbloquear para cargar (Unlock To Charge Mode)

NOTA: Se recomienda utilizar este modo si el cargador está instalado en zonas de acceso público.

En el modo desbloquear para cargar, la JuiceBox solo carga cuando reconoce al usuario autorizado. Esto significa que las sesiones de carga empiezan y acaban utilizando una cuenta autorizada de la aplicación de JuicePass o una tarjeta RFID asociada a la JuiceBox. Este modo también permite retrasar una carga.

Conexión en línea

Su JuiceBox se puede conectar a la plataforma de software de carga inteligente de Enel X Way a través de una conexión WiFi o del Internet móvil (esta última solo disponible para JuiceBox Pro Cellular). De este modo, puede controlar su JuiceBox en cualquier momento mediante la aplicación JuicePass. Dicha aplicación está disponible en la iOS App Store y en Google Play:

  1. Descárguese la aplicación e inicie sesión. Si no dispone de una cuenta, cree una.
  2. Seleccione Añadir una estación de carga (Add A Charging Station).
  3. Introduzca su ID de JuiceBox y, a continuación, seleccione Comprobar ID (Check ID).

    NOTA: Seleccione el icono Cuadrado para abrir la cámara y escanear el código QR situado en el lateral de la JuiceBox. Para obtener más información sobre su ID de JuiceBox, consulte Introducción a JuiceBox.

  4. En la pantalla Añadir una JuiceBox (Add a JuiceBox), introduzca la siguiente información y, a continuación, seleccione Siguiente (Next):
  • Un nombre único para su JuiceBox
  • La dirección de correo postal de la JuiceBox
  • Un PIN para compartirlo con los usuarios autorizados

    NOTA: La información sobre el modelo y la potencia máxima se rellena automáticamente y no se puede modificar.

5.  Seleccione el nivel de potencia predeterminado y su modo de uso y, a continuación, seleccione Hecho (Done).

PRECAUCIÓN: La potencia predeterminada, expresada en kW, define la potencia actual que proporciona el cargador.

NOTA: Para obtener más información sobre los modos de uso, consulte Modos de JuiceBox

 

6.  Si dispone de una tarjeta RFID de Enel X Way, seleccione Añadir tarjeta (Add Card) y, a continuación, introduzca el número de tarjeta. De lo contrario, seleccione Saltar (Skip). Cuando haya finalizado, seleccione Hecho (Done).

 

¡Su JuiceBox ya está en línea! Utilice la aplicación para iniciar la carga.

Cargando Su Vehículo

 

Modo conectar y cargar (Connect And Charge)

Para iniciar la carga, conecte el vehículo a la JuiceBox:

  • Versión con cable: conecte el cable de carga de JuiceBox a su vehículo
  • Versión sin cable: conecte su cable de carga a la toma de JuiceBox y a su vehículo

La carga se inicia automáticamente. Utilice la aplicación JuicePass para supervisar su sesión de carga.

Para detener la carga, envíe un comando de DETENCIÓN (STOP) al vehículo (desde la aplicación JuicePass o desde el vehículo) y, a continuación, desconecte su vehículo de la JuiceBox.

NOTA: Para la versión sin cable de la JuiceBox, primero desconecte el cable del vehículo y, a continuación, de la toma de la JuiceBox.

 

Modo desbloquear para cargar (Unlock To Charge Mode)

Con una tarjeta RFID: cargar ahora

NOTA: Su tarjeta RFID se ha asociado con la JuiceBox como se indica en la sección Conexión en línea. Para añadir una tarjeta RFID, consulte Ajustes.

Para iniciar una sesión de carga, coloque su tarjeta en el lector RFID de la JuiceBox. Conecte el vehículo en menos de 90 segundos tras la autorización de RFID:

  • Versión con cable: conecte el cable de carga de JuiceBox a su vehículo
  • Versión sin cable: conecte su cable de carga a la toma de JuiceBox y a su vehículo

La carga se inicia automáticamente. Utilice la aplicación JuicePass para supervisar su sesión de carga.

Para detener la carga, coloque la tarjeta en el lector de RFID de la JuiceBox. La carga se detendrá automáticamente y se podrá retirar el cable de carga del vehículo y de la toma (si es el caso).

NOTA: También es posible emitir un comando de DETENCIÓN (desde la aplicación JuicePass o desde el vehículo).

NOTA: Para la versión sin cable de la JuiceBox, primero desconecte el cable del vehículo y, a continuación, de la toma de la JuiceBox.

 

Aplicación JuicePass: cargar ahora

Para iniciar la carga, acceda a la página de JuiceBox en la aplicación JuicePass y seleccione Cargar (Charge).

    Conecte el vehículo en menos de 90 segundos:

    • Versión con cable: conecte el cable de carga de JuiceBox a su vehículo
    • Versión sin cable: conecte su cable de carga a la toma de JuiceBox y a su vehículo

    La carga se inicia automáticamente. La página Estado de carga de la JuiceBox (JuiceBox Charging Status) de la aplicación JuicePass le permite supervisar la sesión de carga.

    Para detener la carga, seleccione Detener (Stop) en la página Estado de carga de la JuiceBox (JuiceBox Charging Status) de la aplicación JuicePass. La carga se detendrá automáticamente y se podrá retirar el cable de carga del vehículo y de la toma (si es el caso).

    NOTA: También es posible emitir un comando de DETENCIÓN con una tarjeta RFID o desde el vehículo.

    NOTA: Para la versión sin cable de la JuiceBox, primero desconecte el cable del vehículo y, a continuación, de la toma de la JuiceBox.

     

    Aplicación JuicePass: retrasar carga

    La función de retrasar carga le permite programar una sesión de carga para una hora en el futuro. Acceda a la página de JuiceBox de la aplicación JuicePass y seleccione el icono Retrasar (Delay), situado bajo la imagen de la JuiceBox. Tras asegurarse de que el vehículo está conectado, seleccione la hora de inicio de carga deseada y la duración. Finalmente, seleccione Hecho (Done).

    Tras finalizar la sesión de carga, JuiceBox vuelve al modo de espera. Para detener antes la carga, abra la página Estado de carga de JuiceBox (JuiceBox Charging Status) y pulse Detener (Stop).

    NOTA: También es posible emitir un comando de DETENCIÓN (desde la aplicación JuicePass, con una tarjeta RFID o desde el vehículo).

    NOTA: Para la versión sin cable de la JuiceBox, primero desconecte el cable del vehículo y, a continuación, de la toma de la JuiceBox.

    Ajustes

     

    Para modificar la configuración de la JuiceBox o añadir una nueva tarjeta RFID, seleccione el icono del engranaje situado en la esquina superior derecha para acceder a la página Ajustes:

    • Información de JuiceBox: (JuiceBox info) edite el nombre de la JuiceBox, la dirección postal o el PIN compartido
    • Gestionar tarjetas: (Manage cards) añada o elimine tarjetas RFID
    • Configuración: (Configuration) seleccione una potencia de carga máxima o cambie el modo de JuiceBox.
    • Desvincular: (Unpair) desvincule la JuiceBox de su cuenta.

    Indicador LED

    Información importante de seguridad

    Lea toda la información de seguridad antes de instalar este producto.

     

    ADVERTENCIA: Este dispositivo debe estar bajo supervisión cuando se usa cerca de niños.

    ADVERTENCIA: No coloque los dedos en el conector del vehículo eléctrico.

    ADVERTENCIA: No use este producto si el cable de alimentación flexible está deshilachado, si tiene roto el aislamiento o si muestra otros signos de daño.

    ADVERTENCIA: Para utilizar con vehículos eléctricos solamente.

    ADVERTENCIA: No use este dispositivo con un cable alargador.

    ADVERTENCIA: No retire la cubierta ni intente abrir la carcasa. El interior no contiene piezas que puedan ser reparadas o reemplazadas por el usuario. Solicite servicio técnico al personal de servicio cualificado.

    ADVERTENCIA: Instale y use el JuiceBox lejos de vapores, materiales o productos químicos inflamables, explosivos, agresivos o combustibles.

    ADVERTENCIA: No utilice el JuiceBox fuera de su rango de temperatura de -25 °C a 50 °C.

    ADVERTENCIA: Este dispositivo está diseñado únicamente para vehículos eléctricos que no requieren ventilación durante la carga.

    ADVERTENCIA: Este producto debe estar conectado a tierra. En caso de mal funcionamiento o avería, la conexión a tierra proporciona una vía de menor resistencia para la corriente eléctrica a fin de reducir el riesgo de descarga eléctrica.

    ADVERTENCIA: La conexión inadecuada del conductor de conexión a tierra del equipo podría tener como consecuencia el riesgo de descarga eléctrica. Consulte a un electricista o técnico cualificado si tiene dudas acerca de si el producto está correctamente conectado a tierra.

    Información para el usuario sobre el fin de la vida útil de los aparatos eléctricos y electrónicos

     

    Conforme a las leyes y normativas locales, y de conformidad con el art. 14 de la Directiva 2012/19/UE sobre residuos de aparatos eléctricos y electrónicos (RAEE), el símbolo del contenedor de basura tachado con un aspa estampado en el aparato o en su envase significa que el producto debe desecharse de manera separada de los residuos domésticos. Cuando este producto alcanza el fin de su vida útil, llévelo a un punto de recolección designado por las autoridades locales. La recolección por separado y el reciclado del producto al desecharlo ayudará a conservar los recursos naturales y a garantizar que se recicle de manera que se proteja la salud humana y el medioambiente.